Stainless steel double acting hydraulic pusher cylinder
Capacity: 16-30 tons
Pushing Stroke: 600mm / time
Maximun Operating Pressure: 504-624 bar
Pushing Capacity in Ideal Condition:
SCM16-600: 158 ton SCM30-600: 400 ton
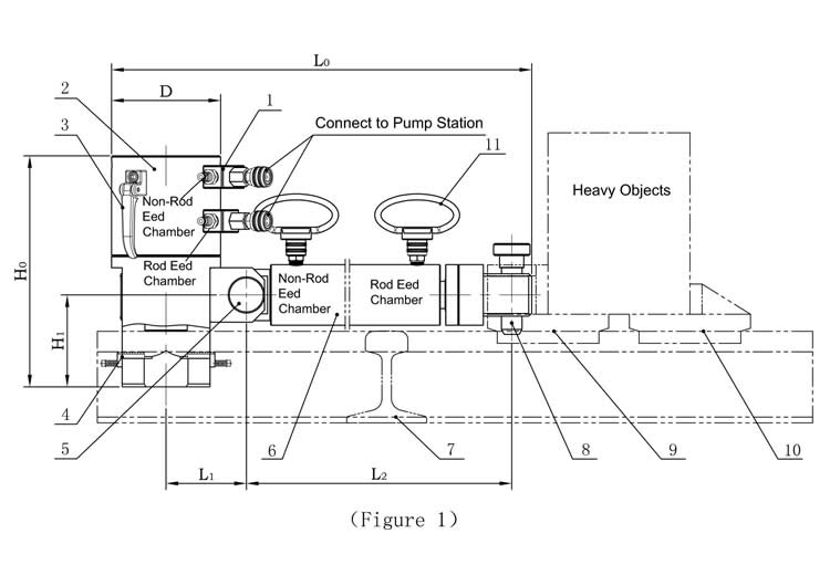
It includes two parts: clamping pliers and pushing cylinder It is widely used in various large parts transportation industries.
Users shall prepare heavy rail (38kg/m, 43kg/m, 50kg/m) and main and passive slipper by themselves.
In order to make the moving weight run smoothly, two sets of machine must be used simultaneously.
Apply lubricating grease to the contact surface of the slipper and rail to reduce the friction system.
Ordering methord:
Model: SCM16-600 16 ton Hydraulic Pusher
Clamping plier:SCM16-600-1,2pcs
Pusher:SCM16-600-2,2pcs
electric hydraulic pump:PE10,2pcs
High pressure hoses:SZAX-3 - M22X1.5, 4pcs , SZAX-6 - NPT3/8, 4pcs
Active and passive boots:User backup

| Model Number | Clamping Plier | Pusher | Dimensions |
| Working pressure | Rated clamping force | Clamping Travel | Reservoir Oil capacity | Usable oil volume | weight | Working pressure | Rated pushing force | Pushing stroke | Reservoir Oil capacity | Usable oil volume | weight | L0 | L1 | L2 | H0 | H1 | D |
| bar | KN | mm | L | L | Kg | bar | KN | mm | L | L | Kg | (mm) |
| SCM16-600 | 504 | 775 | 35 | 0.27 | 0.54 | 67 | 504 | 157 | 600 | 0.92 | 1.87 | 50 | 1143 | 132.5 | 887 | 382 | 152 | 180 |
| SCM30-600 | 624 | 1960 | 35 | 0.52 | 1.1 | 137 | 585 | 294 | 600 | 1.34 | 3.02 | 69 | 1193 | 157.5 | 905 | 417 | 152 | 250 |
Tip:
SAIVS Industrial provides top-quality SCM Series Hydraulic Pusher for hydraulic systems in various industries.
Our products are designed for performance, reliability, and durability.
We offer a wide range of products to suit your needs, including upgrades, maintenance, and repairs.
PROVIDING EXCELLENT SOLUTIONS BY SAIVS™
Speak to one of our experts today to learn more about our SCM Series Hydraulic Pusher products solutions.
Request a Quote
Tags: hydraulic pusher cylinder SCM Series Hydraulic Pusher